首页
关于公司
兽用定位垫
兽用定位垫
手术定位垫
手术定位垫
康复定位垫
康复定位垫
放疗定位垫
放疗定位垫
宠物一生解决方案
宠物影像诊断产品
宠物手术室设备
宠物治疗室设备
宠物殡葬设备
异宠生物成像设备
生物成像仪(实验室)
宠物繁育解决方案
宠物服饰与生活用品
宠物食品
宠物实验室设备
适老化产品及适配方案
出行便捷配置
厨房防风险配置
老年卫生间智能改造
居家康复辅助器具
文娱生活配置
适老健康疗养食品
适老化智能门窗
适老化家庭康养
保障安全系列
养老照护实训室解决方案
体能、认知评估器材
护理床系列
褥疮垫系列
助便助浴系列
康复设备配置
康复锻炼器材
便携式制氧机
老年家具
空气消毒设备
按摩床系列
ABS手推车
智能睡眠监测
跨境商务
跨境商务合作
服务支持
FAQ
新闻资讯
行业新闻
公司新闻
产品资讯
首页
产品
宠物一生解决方案
宠物手术室设备
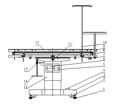
兽用电动手术台YSVET0504
YSVET0504电动动物手术台以YSVET0503为基础,增加了恒温系统和电动升降功能。适用于小动物的作,如羊、狗等。它结构合理、紧凑、性能高、作简便,具有很强的实用性。
设计参数
1、台面高度:760-1060 mm
2、台面尺寸:1400*650 mm
3、台面坡度:±15°
4、台面可调角度:0°-45°
5、温度范围:0°-50°
6、电源:220V
生产及性能
:
1、YSVET0504电动动物手术台由桌板、销钉、台座组成,配有手术器械支架、托盘和输液支架。
2、完成的手术台由不锈钢制成,台面底座采用滚动设计,移动方便,并配有固定锁紧螺栓。
更多产品
联系我们
提交表单
*
联系人姓名
*
手机号码
邮箱
*
验证码
*
留言内容